自然圧密・各種対策工法に対応した圧密沈下プログラム
初版リリース:1998.01.30/最新Ver.リリース:2022.05.26
電子納品
3D PDF
「土工指針」や「NEXCO」、「軟弱地盤対策工指針」、「鉄道」、「港湾」等の各種設計基準類に規定されるTerzaghiの一次元圧密理論に基づく圧密沈下解析プログラム。
任意地形の解析が可能で、対象地盤としては粘性土層(Δe法、mv法、Cc法)、砂層(Δe法、DeBeer法)、泥炭層(「泥炭性軟弱地盤対策工マニュアル」の手法、能登「泥炭地盤工学」の手法)、非圧縮層に対応。沈下量解析においては、各種地中応力の計算(ブーシネスク法、オスターバーグ図表、慣用計算法)に対応。B.K.Hough図表や自然含水比をパラメータとした標準曲線内蔵。
算種別としては、圧縮変形(圧密沈下・即時沈下)に加え、せん断に伴う即時沈下・側方変位の計算が可能、各沈下量計算法の現地盤面の沈下曲線同時描画、モデル全体の沈下形状描画。自然圧密時のみならず対策工法として圧密促進(ドレーン)工法(Barronの式、吉国の式)、予圧密(プレロード)工法、地下水低下工法、緩速載荷工法での圧密過程の解析が可能。
機能概要
| 区分 | 対応機能 | |||
| 地中応力 | ブーシネスク法:現地盤面の傾斜あり/なし | |||
| オスターバーグ図表 (水平現地盤等脚台形) | ||||
| 慣用計算法(ケーグラー法):現地盤面の傾斜あり/なし | ||||
| 圧縮変形 | 粘性層 | Δe法:標準圧密曲線(自然含水比をパラメータとした土工指針等設計基準に規定される曲線)、標準圧密曲線(三笠)、圧密試験値 | ||
| mv法 | ||||
| Cc法 | ||||
| 砂層 | Δe法:B.K.Houghの図表、土質試験値 | |||
| De Beer法:標準貫入試験N値、オランダ式二重管コーン貫入抵抗qc | ||||
| 泥炭層 | 泥炭性軟弱地盤対策工マニュアルの手法 能登繁幸著「泥炭地盤工学」の手法 |
|||
| 非圧縮層 | ||||
| せん断変形 | 即時沈下量の計算、側方変位量の計算 | |||
| 膨潤変形 | 膨潤係数Csによるリバウンド量の計算 | |||
| 排水距離 | 層厚換算法、三笠の方法 | |||
| 圧密時間 | Terzaghiの一次元圧密方程式:瞬間載荷/緩速載荷 | |||
| Barronの式:瞬間載荷/緩速載荷 | ||||
| 吉国の式(ウェルレジスタンスまたはマットレジスタンス考慮):瞬間載荷/緩速載荷 | ||||
| 放置期間に対する残留沈下量の検討 | ||||
| 残留沈下量に対する放置期間の検討 | ||||
| 対策工 | 圧密促進工法 | Barronの式 | ||
| 吉国の式:サンドドレーン三角形配置/サンドドレーン正方形配置/パックドレーン/バーチカルドレーン | ||||
| 予圧密(プレロード)工法:瞬間載荷/緩速載荷 | ||||
| 地下水低下工法 | ||||
| 増加応力換算法 | ||||
| 出力 | 沈下量:現地盤面の沈下曲線/モデル全体の沈下形状 | |||
| 沈下時間:沈下量~時間曲線/圧密度~時間曲線 | ||||
| 計算書のWord形式・HTML形式・Text形式出力・禁止文字チェック、計算書の一太郎形式・pdf形式(しおり機能)出力(別売F8DocServ※)購入による有償) | ||||
| DXF出力(入力図・沈下曲線・側方変位・沈下量~時間曲線・圧密度~時間曲線) | ||||
| 設計調書出力(プリンタ出力・HTML形式出力・Excelファイル形式出力) | ||||
適用地盤・盛土荷重
原地盤面及び各地層線は任意の凹凸での入力ができ、地盤改良や置換工法等の人工的層状態の入力も可能。載荷重については、盛土荷重を想定した台形入力フォーマットや腹付盛土等の任意形状の入力フォーマットを用意。
対象土層
粘性土層、砂層、泥炭層、岩等の非圧縮層
対応地形モデル
| 区分 | 概念図 | ||
| 現地盤面の入力 | 任意な現地盤面の入力・現地盤面の傾斜に対応した地中応力の計算が可能。 | ![]() |
|
| 地層の入力 | 地盤改良や置換工等の人工的層状態の入力が可能。 | ![]() |
|
| 荷重の入力 | 腹付盛土等の任意な載荷重の入力が可能。 | ![]() |
|
載荷重の種類
| 載荷重の入力方法 | 荷重種別 | |||
| 荷重強度q | 単一集中荷重 | ![]() |
||
| 無限長線荷重 | ![]() |
|||
| 無限長帯荷重 (:等分布と不等分布との組合せにより、 任意形状の入力が可能。) |
等分布荷重 | ![]() |
||
| 不等分布荷重 | ![]() |
|||
| 不等分布荷重(三角形) | ![]() |
|||
| 台形荷重 | ||||
| 単位重量γ | 台形荷重 | |||
地中応力計算
| 地中応力の計算法 | 分布形状 | 概念図 | 適用範囲 | |
| ブーシネスク法 | 紡錘体状分布 | ![]() ![]() |
ブーシネスク法 ・単一集中 ・無限長線 ・無限長帯(等分布) ・無限長帯(不等分布) ・無限長台形(非等脚) |
|
| オスターバーグ図表 | オスターバーグ図表 ・無限長台形(非等脚) |
|||
| 慣用計算法(ケーグラー法) | 直線分布 | ![]() |
・単一集中 ・無限長線 ・無限長帯(等分布) |
|
変形量計算
圧縮変形(Δe法、mv法、Cc法による圧密沈下量、De Beer法、「泥炭性軟弱地盤対策工マニュアル」の手法、能登「泥炭地盤工学」の手法)、せん断変形(地盤を弾性体とみなした弾性変位として即時沈下量、側方変位量)、膨潤変形(荷重除荷に伴って発生するリバウンド量)の解析が可能。双曲線法による沈下量の予測量を計算します。
| 区分 | 概念図 | |||
| 圧縮変形 (:先行圧密応力qoの 考慮が可能) |
粘性層 | Δe法 | 標準圧密曲線 (自然含水比をパラメータとした土工指針等 設計基準に規定される曲線) |
![]() |
| 標準圧密曲線 (三笠) |
||||
| 圧密試験値 | ||||
| mv法 | ||||
| Cc法 | ||||
| 砂層 | Δe法 | B.K.Houghの図表 | ||
| 土質試験値 | ||||
| De Beer法 | 標準貫入試験N値 | |||
| オランダ式二重管コーン貫入抵抗qc | ||||
| 泥炭層 | 泥炭性軟弱地盤対策工マニュアルの手法 | ![]() |
||
| 能登繁幸著「泥炭地盤工学」の手法 | ||||
| せん断変形 | 即時沈下 | ![]() |
||
| 側方変位 | ||||
| 膨潤変形 | 荷重除荷によるリバウンド | ![]() |
||
排水距離の計算
| 計算法 | 概念図 | ||
| 層厚換算法 | ![]() |
||
| 三笠の方法 | 片面排水 | 片面排水の場合![]() |
|
| 両面排水 | 両面排水の場合![]() |
||
沈下時間計算
Terzaghiの圧密方程式の解法による自然圧密過程、Barronの式の解法による圧密促進工法適用時の圧密過程、吉国の式の解法によるウェル(またはマット)レジスタンスを考慮した圧密促進工法適用時の圧密過程での計算が可能。排水距離は、多層地盤に対する層厚換算法及び多層地盤の排水方向を考慮した三笠の方法での計算が可能であり、それぞれ両面排水と片面排水とが設定可能。 二次圧密を考慮した計算に対応。
| 計算種別 | 概念図 | ||
| 瞬間載荷 | 一括施工 | ![]() |
|
| 段階施工 | ![]() |
||
| 緩速載荷 | 一括施工 | ![]() |
|
| 段階施工 | ![]() |
||
対策工
未対策時での自然圧密の解析に加え、各種ドレーン(サンドドレーン、パックドレーン、バーチカルドレーン)に対応した圧密促進工法、構造物の施工に先立ってプレロード荷重を載荷させる予圧密工法、地盤が破壊しない範囲に盛土速度を制御する緩速載荷工法、地盤中の地下水位を低下させ、有効応力の増加を図る地下水低下工法に対応。
| 対策工法 | 概念図 | 備考 | |
| 無処理 (自然圧密) |
![]() |
Terzaghiの一次元圧密方程式による排水時間の解法 | |
| 圧密促進工法 (ドレーン工法) |
![]() |
Barronの式による排水時間の解法 ・サンドドレーン ・パックドレーン ・バーチカルドレーン |
|
![]() |
吉国の式による排水時間の解法 ・ウェルレジスタンス ・マットレジスタンス |
||
| 予圧密工法 (プレロード工法) |
![]() |
荷重除荷に伴うリバウンド量の考慮 | |
| 段階緩速載荷工法 | ![]() |
地盤が破壊しない範囲に盛土速度を制御する | |
| 地下水低下工法 | ![]() |
揚水や、掘削等による水位低下に伴って発生する圧密沈下 | |
インターフェイス
全沈下量の沈下曲線の出力、更に沈下前後の変状の定性的把握を目的とした、載荷重の変状までを含む沈下形状の描画が可能。
データ連携
圧密斜面連携解析(圧密沈下形状の斜面安定へのデータ連携)、地盤解析用地形データファイル(拡張子GF1)出力に対応。 沈下-時間曲線のcsvデータのエクスポートが可能。
設計調書出力
予め用意してあるテンプレートを用いて、設計条件、図、計算結果等を自動的に反映した設計調書の出力に対応しています。
※設計調書の出力は、当製品と別に「調表出力ライブラリ Ver.2」をインストールする必要があります(本プログラムのみでは動作いたしません)。
・道路土工-軟弱地盤対策工指針 平成24年度版 (社)日本道路協会
・設計要領第一集 土工編 平成18年4月 東/中/西日本高速道路株式会社
・道路橋示方書・同解説 IV下部構造編 平成14年3月 (社)日本道路協会
・港湾の施設の技術上の基準・同解説 平成11年4月 (社)日本港湾協会
・宅地防災マニュアルの解説平成10年5月 建設省建設経済局民間宅地指導室監修
・泥炭性軟弱地盤対策工マニュアル平成23年3月 独立行政法人 北海道開発土木研究所
・柔構造樋門設計の手引き (財)国土技術研究センター編 山海堂
・泥炭地盤工学 技報堂出版
・土質工学ハンドブック (社)土質学会
・土木工学ハンドブック I 土木学会編 技報堂
・最新の軟弱地盤処理工法 福岡正巳編 近代図書株式会社
・『実務における圧密沈下予測とその対策技術講習会 講演資料』 公益社団法人 地盤工学会
震度法、保有耐力法による計算、部材の設計をサポートし、詳細設計レベルで様々な基礎形式・工法の検討が行えます。地層・作用力データを共有し、3面図表示によるデータ確認、図をまじえた結果表示、[基準値]機能をサポート。各基礎工の設計調書、異種基礎の比較表の出力が可能。杭基礎では、鋼管ソイルセメント杭を含む13種の杭種に対応。各種工法をサポートし、補強設計(増し杭)にも対応。
| 機能 | Lite | Standard | Advanced | |
|---|---|---|---|---|
| 計算 | 液状化の判定 | ○ | ○ | ○ |
| 直接基礎 | ○ | ○ | ○ | |
| 杭基礎 | ○ | ○ | ○ | |
| ケーソン基礎 | - | ○ | ○ | |
| 鋼管矢板基礎 | - | ○ | ○ | |
| 地中連続壁基礎 | - | ○ | ○ | |
| CAD | 杭基礎 | ○ | ○ | ○ |
| 直接基礎 | - | - | ○ | |
| その他 | ESエクスポート(杭基礎) | - | - | ○ |
▲ 製品構成別対応機能
関連情報
»バックナンバー杭基礎
杭基礎
直接基礎
直接基礎
鋼管矢板基礎
鋼管矢板基礎
地中連続壁基礎
地中連続壁基礎
ケーソン基礎
ケーソン基礎
図面作成:杭基礎(Lite以上)
図面作成:杭基礎(Lite以上)
図面作成:直接基礎(Advanced)
図面作成:直接基礎(Advanced)
・道路橋示方書・同解説 I 共通編/III コンクリート橋編/IV 下部構造編、V 耐震設計編 H24年3月 日本道路協会
・設計要領 第2集 1章 計画、4章 基礎構造、5章 下部構造 H18年4月 東・中・西日本高速道路株式会社
・杭基礎設計便覧 H27年3月、H19年1月、H4年10月 日本道路協会
・鋼管矢板基礎設計施工便覧 H9年12月 日本道路協会
・道路橋の耐震設計に関する資料 H9年3月 日本道路協会
・道路橋の耐震設計に関する資料 -PCラーメン橋・RCアーチ橋・PC斜π橋・地中連続壁基礎・深礎基礎等の設計計算例- H10年1月 日本道路協会
・既設道路橋基礎の補強に関する参考資料 H12年2月 日本道路協会
・鋼管矢板基礎 -その設計と施工- H11年10月 鋼管杭協会
・杭基礎の計算法とその解説 1987年1月 土質工学会
・杭・ケーソン・鋼管矢板および地中連続壁基礎の設計計算例 2000年2月 山海堂 岡原美知夫他
・土木研究所資料第1175号 矢板式基礎の設計法 (その1) S52年2月、(その2) S52年6月、(その3) S52年3月 建設省土木研究所
・わかりやすいケーソン基礎の計画と設計 H10年11月 総合土木研究所
・鋼管杭基礎の設計と施工 道路橋示方書(H14年3月版) 改訂対策 H14年4月 鋼管杭協会
・STマイクロパイル工法 設計・施工マニュアル(案) 2000年5月 NIJ研究所
・SPマイクロパイル設計・施工マニュアル(案) H20年11月 エスティーエンジニアリング(株)
・既設基礎の耐震補強技術の開発に関する共同研究報告書(その3)、高耐力マイクロパイル工法(6冊分の2)、
STマイクロパイル工法(6冊分の3)、 ねじ込み式マイクロパイル工法(6冊分の4)設計・施工マニュアル
H14年9月 独立行政法人 土木研究所、(財)先端建設技術センター
・大型地下構造物ケーソン設計マニュアル H13年8月 日本圧気技術研究所
・道路技術基準図書のSI単位系移行に関する参考資料 第1巻-交通工学・橋梁編- H14年11月 日本道路協会
・一般土木工法・技術審査証明報告書 ガンテツパイル(鋼管ソイルセメント杭工法) H12年3月、HYSC杭(鋼管ソイルセメント杭工法) H12年12月 国土開発技術研究センター
※2021年4月からの消費税総額表示義務化に伴い、価格表記を「税抜」から「税込」へ移行いたします。
本体価格
価格は税込表示です
■本体価格
| 製品名 | 価 格 |
| 圧密沈下の計算 Ver.12 | ¥275,000(税抜¥250,000) |
■フローティングライセンス価格
本体価格の40%を追加いただくことで、誰でも、どこでも、どのPCでも製品の利用が可能となります。
| 製品名 | 価 格 |
| 圧密沈下の計算 Ver.12 | ¥110,000(税抜¥100,000) |
サブスクリプションサービス 契約価格
■サポート内容
・バージョンアップ無償提供 ・電話問合せテクニカルサポート
・問合せサポート(電子メール、FAX) ・ダウンロードサービス ・保守情報配信サービス
※ライセンス管理コスト削減、製品ご利用形態ニーズ多様化への対応を充実させることを目的として、従来の保守・サポート形態からより便利な、「サブスクリプションサービス」へ順次移行いたします(2016年4月1日~)。
価格は税込表示です
| 対象製品 | 初年度 | 1年 |
|---|---|---|
| 圧密沈下の計算 Ver.12 サブスクリプション | 無償 | ¥110,000(税抜¥100,000) |
| 圧密沈下の計算 Ver.12 サブスクリプションフローティング | ¥154,000(税抜¥140,000) |
■レンタルライセンス:短期間での利用により、低廉な価格でのライセンス利用が可能
■レンタルフローティングライセンス:ライセンスの認証をWeb経由で受ければ、誰でも、どこでも、どのPCでも製品の利用が可能
■レンタルアクセス:既に購入済みの製品の利用ライセンス数を増やす事が可能です。事前契約により、レンタルライセンス期間(1ヵ月~3ヵ月)の単位で自動的にライセンスが付与されます。利用実績に応じて後日請求いたします。事前申込価格として、レンタルライセンス価格の15%引きとなります。ユーザ情報ページにてお申込みいただけます。
※サービス強化、利便性向上を図る目的で「レンタルライセンス/レンタルフローティングライセンス」を2007年9月3日より提供を開始しました。
※レンタルライセンス/レンタルフローティングライセンス開始後の期間変更は出来ません。期間延長の場合は再申込となります。
レンタルライセンス/レンタルフローティングライセンス
価格は税込表示です
■レンタルライセンス
| 対象製品 | 2ヶ月 | 3ヶ月 | 6ヶ月 |
|---|---|---|---|
| 圧密沈下の計算 Ver.12 | ¥123,750 | ¥145,750 | ¥178,750 |
■レンタルフローティングライセンス
| 対象製品 | 2ヶ月 | 3ヶ月 | 6ヶ月 |
|---|---|---|---|
| 圧密沈下の計算 Ver.12 | ¥206,250 | ¥244,750 | ¥302,500 |
| 製品名 | アカデミー価格 |
|---|---|
| 圧密沈下の計算 Ver.12 | ¥220,000(税抜¥200,000) |
バージョンアップ開発履歴
■バージョンアップ、リビジョンアップ(無償保守)の主な内容を一覧にしています。
旧版改訂、リバイバル版リリース時などの場合にご参考ください。
| 圧密沈下の計算 Ver.12 | ||
| バージョン | リリース日 | 主なバージョンアップ内容 |
| 12.0.0 | 22/05/26 |
|
動作環境
| OS | Windows 10 / 11 |
|---|---|
| CPU | OSのシステム要件を満たし、問題なく動作する環境 |
| 必要メモリ(OSも含む) | OSのシステム要件を満たし、問題なく動作する環境 |
| 必要ディスク容量 | 約30MB以上(インストール時及び実行時含む) |
| ディスプレイ(画面解像度) | 1024×768以上 |
| 入力データ拡張子 | F8T |
| ファイル出力 | F8出力編集ツール対応:TXT、HTM、 PPF、DOC、 DOCX、PDF、 JTD、JTDC 図面:DXF モデル作成補助ツールファイル(ssd) |
| 他製品との連動 | <保存> 圧密入力形状データ(ATS) 圧密沈下形状データ(ATR) 地盤解析用地形データ(GF1) |
| 備考 | 調表出力対応 |
製品購入/お問い合わせ窓口
■FORUM8 オーダーページで購入
製品購入 - オーダーページ にて、バージョンアップ・新規製品・各種サービスの御見積作成・申込・決済ができます。
クレジット利用や、分割払いシステムでの購入も可能です。
ご質問は、バージョンアップセンタ(vc@forum8.co.jp)までお気軽にお問い合わせ下さい。
▼一括緩速載荷の計算例 ( 24P, 331KB ) 応力度算出方法 : ブーシネスク法 対策工 : 無処理 載荷方法 : 瞬間載荷(一括) ![]() |
▼段階瞬間載荷の計算例 ( 33P, 526KB ) 応力度算出方法 : ブーシネスク法 対策工 : 無処理 載荷方法 : 瞬間載荷(段階) ![]() |
▼地表面の傾斜を考慮した計算例 ( 24P, 332KB ) 応力度算出方法 : ブーシネスク 対策工 : 無処理 載荷方法 : 瞬間載荷(段階) ![]() |
|
▼盛土データの入力による即時沈下・側方変位、泥炭層の計算例 ( 45P, 1,002KB ) 応力度算出方法 : オスターバーグ図表 対策工 : 圧密促進工法 載荷方法 : 瞬間載荷(段階) ![]() |
▼任意地層線の計算例 ( 34P, 474KB ) 応力度算出方法 : ブーシネスク法 対策工 : 無処理 載荷方法 : 瞬間載荷(段階) ![]() |
▼緩速載荷工法の計算例 ( 34P, 610KB ) 応力度算出方法 : ブーシネスク法 対策工 : 無処理 載荷方法 : 緩速載荷 ![]() |
|
▼De Beer法による砂の即時沈下量の計算例 ( 48P, 771KB ) 応力度算出方法 : ブーシネスク法 対策工 : 無処理 載荷方法 : 緩速載荷 ![]() |
▼泥炭性軟弱地盤対策工マニュアル(平成14年3月)に準拠した泥炭層の計算例 ( 66P, 927KB ) 応力度算出方法 : ブーシネスク法 対策工 : 無処理 載荷方法 : 瞬間載荷 ![]() |
▼盛土の嵩上げに伴う砂地盤のB.K.Hough図表による即沈計算例。 せん断変形(即時沈下量・側方変位量)の傾斜地層に対する計算例 ( 30P, 476KB ) 応力度算出方法 : ブーシネスク法 対策工 : 無処理 載荷方法 : 瞬間載荷 ![]() |
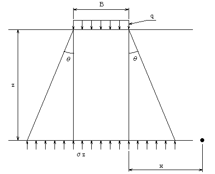
地中応力の計算においては、ブーシネスク法での計算に際して地中応力の分散は、紡錘体状の分布を呈すものとしてプログラムにより自動計算します。一方、地中応力を慣用計算法(ボストン・コード法)での計算に際しては、地中における応力分布は一定角度におり直線分布するものとした計算になります。分散角とは、この慣用計算法(ボストン・コード法)における地中応力の鉛直面からの広がりを表す角度をいい、入力した任意の角度における地中応力を計算できます。

本プログラムでは、圧縮変形(圧密沈下)の計算とせん断変形(即時沈下・側方変位)の計算とが行えます。圧縮変形(圧密沈下)につきましては二次元計算(圧縮は鉛直方向のみ)であり、載荷重において奥行きはありません。一方、せん断変形(即時沈下・側方変位)の計算に際しては、せん断を発生させるため、載荷重は有限幅・有限奥行きである必要があります。奥行きとは、このせん断変形(即時沈下・側方変位)を計算する際の載荷重の奥行き方向の長さのことを指します。
任意荷重の入力も可能です。
本プログラムにおける載荷重の入力形式の区分につきましてご説明いたします。
以下の(B)に示す[盛土データ]による入力につきましては、地中応力算出法としてオスターバーグ図法を選択した場合に対応する、地表面が水平な場合における台形形状での入力としてご用意しているものであり、定型形状の載荷となりますため、載荷面の凹凸に応じて形状が変化します。一方、以下の(A)に示す[荷重データ]による入力は、台形形状以外の任意形状の入力に相当します。
(A) [入力]-[荷重データ] → 任意形状(:地表面に起伏に応じた入力)
(B) [入力]-[盛土データ] → 台形(:地表面が水平であることが前提)
つまり、台形以外の任意形状の入力を行う場合には、『上載荷重』であるか『盛土』であるかによらず、一律に上記(A)の荷重として入力して下さいますようお願い致します。
[入力]-[地表面と地層幅]にて、中間点を入力することにより、地表面の凹凸を入力して下さい。
「水位線」入力画面で水位線データを入力し、「土質データ」にて湿潤重量と飽和重量との2種類を入力します。飽和域と不飽和域との圧縮特性を変えたい場合には、適宜、□地下水位以下の土質データを変更するチェックボックスをチェックして、「土質データ(水位以下)」に異なる圧縮特性を入力することもできます。
弊社では、データの共通化を図る目的から、ファイル形式をXML形式に統一しております。その経緯から、最新版では、XML形式(拡張子f8t)のみに対応しております。
旧々々版 :保存形式はバイナリ形式ファイル(拡張子AATI)
旧々版 :保存形式はバイナリ形式ファイル(拡張子ATIor拡張子AATI)
旧版Ver.3.00.05以前 :保存形式はバイナリ形式ファイル(拡張子AMIor拡張子ATIor拡張子AATI)
旧版Ver.3.01.00以降 :バイナリ形式・XML形式との双方の保存に対応。
Ver.4.00.00以降 :読込み・保存ともXML形式ファイル(拡張子f8t)のみ。
お手数ですが、下記の手順にてVer.2形式データファイル(*.AMI)を最新版形式にコンバートしてご使用下さい。
旧々バージョンデータファイルの最新バージョン形式への変換手順:
Ver.3.01.00以降のプログラムで読み込み(最終版はVer.3.01.02)、保存しなおすことで対応くださいますようお願いいたします。
はい、本製品では設計条件として予圧密工法を選択することにより、荷重除去の設計が可能です。
但し、通常のプレロードによる荷重除去による設計は可能ですが、サーチャージ工法での計算は直接は出来ませんのでご注意ください。
つまり、プレロード荷重を全て除去した場合での計算は可能ですが、余盛分だけを除去する計算に対応しておりません。
サーチャージ工法での設計手段としては、載荷荷重に負の荷重を入力するのではなく、施工段階を分けて、設計していただくなどの設計者の判断が必要となります。
設計方法としては、載荷盛り土の終了時点における圧密計算結果を利用していただき、次にその時点での層厚と各諸元データを入力した設計データを再入力し、最後にそのデータに対して構造物と活荷重を載荷設計する方法などが考えられます。
しかし、粘性土の特性は、載荷荷重により圧密降伏応力を越える状況となった場合は、正規圧密状態へ移行し圧密が開始され、その荷重により圧密が収束すれば同じ荷重では沈下は生じません。その途中で荷重を除去した場合、除去荷重が圧密降伏応力を越えており、かつ圧密が収束していれば、それ以上の沈下は生じないことになります。
一方、沈下が収束していない際には、除荷後再載荷によって沈下を生じる場合があり、この様な場合の圧密降伏応力は、設計者が圧密の応力度などから別途算出する必用が有ります。
従って、圧密は増加荷重により計算されるものですが、除荷後に載荷される総荷重がこれを越えるもので有れば、盛り土荷重は設計に影響が生じることになります。
本プログラムでは、地盤改良率(例えばソイルセメントとする場合の配合等)の入力により、改良後の物性を自動計算し、それに基づいて改良後の沈下を計算する仕組みにはなっておりません。
改良後の地盤の物性につきましては、設計基準類にも規定はなく、ユーザー様ご自身で設定していただく他はございません。
ソイルセメントのような強固な改良を行うのであれば、当該箇所は沈下しないとして、未改良部のみの沈下のみを照査するということで良いと思われますが、改良の程度により改良部の沈下を見込みたい場合には、適宜物性値を仮定して下さい。
全ての層に対して同じ緩速載荷の計算理論が適用されます。
但し、施工期間中に圧密が終了してしまうような過大な圧密係数である層に対しては、この緩速載荷の計算理論の適用範囲外になりますため、施工期間中の経時変化が線形的な変化として出力されますが、これは理論解がこのようになるというのではなく、理論の適用範囲外であるためと理解すべきでしょう。
層厚換算法により、連続する粘性土層を一つの圧密層に換算するのは、鉛直排水となる自然圧密時のみであり、水平排水となる圧密促進工法につきましては、層厚換算は行われませんので、ご注意下さい。
(a) 自然圧密
→ 地盤全体が鉛直排水するとしてTerzaghiの圧密方程式を解法
→ 層厚換算法により、深さ方向に連続する粘性土層を一つの圧密層に換算して、解法します。
(b) 圧密促進
→ 地盤全体が水平排水するとしてBarronの式の解法(ウェルレジスタンス非考慮)
→ 地盤全体が水平排水するとして吉国の式の解法(ウェルレジスタンス考慮)
→ 水平排水であるため、層厚換算は行わず、各粘性土層ごとに解法します。
計算につきましては、層ごとにウェルレジスタンスを考慮しない場合には、Barronの式を解法し、ウェルレジスタンスを考慮する場合には吉国の式を解法しています。全層における圧密過程は重ね合せ法により、各層ごとの結果の単純和としています。
当該機能はお問い合せにありますようなディープウェルに起因して発生する圧密沈下現象の解法に対して適用できるよう開発した機能です。 圧密沈下の発生メカニズムにつきまして、以下にご説明します。
(a) 盛土重量により下層の間隙水が押し出される圧密沈下
(b) 地下水低下により間隙水が吸い出される圧密沈下
上記(a)の現象では、飽和土に圧力(力)が加わった際に、間隙水がしぼり出され、土が圧縮されることにより、圧密沈下が発生します。一方、上記(b)の現象では、地下水位が低下すると、土が受けていた浮力が無くなることにより土の重さが増し、土に圧力が加わった際と同様の現象が生じて土が圧縮され、この結果圧密沈下が生じます。 上記の(a)及び(b)の現象に対して本プログラムでは区分なく慣用法により解法します。つまり、(b)の現象については地下水位の低下に伴う浮力消失量を自動計算し、その浮力消失量を載荷重として作用させることにより解法します。いずれも慣用法による解法であり、FEM等により土中水の挙動を解法しているわけではございませんので、その際の地盤の変形は鉛直方向の圧縮変形のみに帰着され、側方移動については見込まれませんのでご注意下さい。
「設計条件」入力画面で、「オスターバーグ応力図表」を選択していただければ可能です。
なお、この応力図表は等脚台形用に対応するものであり、載荷できる盛土形状は、原地盤面が水平であり、小段等の形状変化のない等脚台形に限定されます。
原地盤面が水平でなかったり、盛土形状においてのり面勾配が異なる場合には、地中応力の計算に際しては、ブーシネスク法を適用して下さい。
本プログラムにおける載荷重の区分につきましては、この定型に対する応力図表を使用するか否かを選択するものであり、載荷重の材質が盛土であるか交通荷重であるか等の荷重の実際の種別には依存しません。
「盛土(単位重量)」とは、オスターバーグ図表用に設けている台形入力(原地盤面はフラット)用であり、この応力図表には、お問合せのような盛土天端の載荷重を含まれておりません。
オスターバーグの応力図表とは、原地盤面が水平であり盛土に小段がない、つまり載荷重形状が台形である場合に対応する応力図表です。
そのため、お問合せのように、盛土荷重と交通荷重との双方を考慮されますような任意形状の荷重につきましては、「盛土(単位重量)」ではなく、「荷重(単位重量)」にて入力して下さいますようお願い致します。
このオスターバーグの応力図表は、ブーシネスク法によって台形形状の寸法をパラメータとして図表化したものであり、両者は基本的には等価となります。
―応力算出法―
●ブーシネスク法
○オスターバーグ図表
―載荷重の入力―
●荷重(荷重強度q)
○盛土(単位重量γ)
放置期間とは、施工開始日からの期間を指します。緩速載荷の場合には、施工期間と放置期間とを含んだ日数が放置期間になります。また段階施工のときには、1段目の施工開始日からの期間になります。(施工段階(1)が施工されてから2段目が施工されるまでの放置期間を含みます。)
入力される土質諸元により大きく差が生じます。
透水係数1つでその圧密速度は大きく異なりますが、両面排水と片面排水では、排水距離が両面排水とした場合、片面の1/2倍となるため時間的効果は圧密時間にも大きな影響を及ぼします。
製品helpの圧密時間の推定式の各計算式を確認下さい。
特に、各算定式の最大排水距離に注意して下さい。
距離の2乗の関数になるため、その時間差は大きくなります。
層厚換算法とは、連続する両面排水層を一つの層として換算する概念となります。
この層区分はTerzaghiの圧密方程式による圧密解法における排水距離の計算に用いる概念になり、ヘルプ[計算理論と照査の方法]-[圧密時間の推定式]-[層厚換算法]にて概念図で示しておりますように、連続する粘性土層における上面及び下面において不透水層が存在するか否かにより設定します。上面及び下面がともに透水性地盤である場合には両面排水を、上面及び下面のいずれか一方に不透水層が存在する場合には片面排水となります。
例えば、粘性土層の下に不透水性の基礎岩盤が存在した場合のように、片面の透水性を完全に見込まない場合に片面排水となり、上下に存在する層が透水性であれば、その透水係数の大小に依存せず、一律に両面排水となります。
各層の圧密係数Cvについては、層厚換算する際の排水距離として反映させ、排水時間については最下層の圧密係数が支配的であるとして計算しています。
排水距離Dは、両面排水の場合、層厚の1/2で、片面排水の場合、その層厚と同じとして扱います。
つまり、両面排水の方が片面排水の場合より短時間に排水されることとなります。Terzaghiの一次元圧密方程式を無次元化した計算式にて、圧密時間tは排水距離Dの二乗に比例する量であり、両面排水の場合には上下方向への排水となるため、片面排水の場合の半分の排水距離とした計算となります。
原地盤面が舗装等により排水を制限されている場合には、間隙水は下方向への排水に制限されるとして片面排水(下側)で良いと思いますが、原地盤面が大気圧下にあり、上面からの排水もあるとして扱う場合には、両面排水として扱うことが適切であると考えます。
「設計条件」入力画面で、「即時沈下量の算出」を選択していただければ可能です。
盛土や構造物の載荷による地盤変形は、地盤を構成する個々の土に生ずる変形の集積として捉えられ、有限幅荷重においては経時的排水に伴う体積変化である圧密変形と、主応力差の増加に基づく体積変化を伴わない即時的なせん断変形とが重なって生じるものと考えられます。ここでいう即時沈下とはこの等体積せん断変形を指し主に荷重端部付近での変形であるため、盛土中央下部においては盛土幅もしくは奥行きが小さい方がより大きく、幅もしくは奥行きが大きくなるに従い小さくなります。
(A) 圧密沈下量:排水に伴う体積減少変形であり、載荷幅もしくは載荷奥行が大きくなる(下図中:黄色→桃色)ことにより、載荷重自体が大きくなるため、地盤の圧縮変形は大きくなります。
(B) 即時沈下量:地盤を弾性体とみなした体積変化を伴わない弾性変位量であり、載荷幅もしくは載荷奥行が大きくなる(下図中:黄色→桃色)ことにより、地盤が全体的に押されるため、地盤のせん断変形は小さくなります。
Cc 法での沈下量が過大に評価されますのは、Cc法が圧密降伏点を考慮していない理論であることに起因します。e-logP曲線の入力にて曲線の降伏箇所が認められますこと、当該地盤は過圧密状態であることが想定されます。Δe法やmv法では、地盤特性を曲線にて設定しますため、降伏地点前後での沈下特性は異なります。一方、Cc法では地盤特性を一つの定数(圧縮指数)で代表させますため、圧密降伏は考慮されません。そのため、正規圧密地盤に対してはこれらの計算結果はある程度整合しますが、過圧密地盤に対しては沈下量に大きな差が発生する場合があります。
層区分として「非圧縮層」を選択してください。
地層モデルの取り方で複雑な形状であっても再現することが可能です。例えば、水路を埋めるような場合、モデルの両端がy=0~y=0の座標となりますが、その中間点(水路の部分)をへこませてモデル設定し、水路を埋めてその下の沈下量を計算する様な際にも、(1)層データ入力で 中間点を作成していただく②地層のブロック化をして細かい形状を再現するにより可能です。複雑な形状も同じようにお考え下さい。
粘性土層に対しての初期間隙比は、入力いただくe-logp曲線、もしくは標準圧密曲線より算出しています。また砂層の場合はB.K.Houghの図表、もしくは入力いただく砂の圧力-間ゲキ比曲線より算出しています。土質データ入力画面で「砂の圧力-間ゲキ比曲線」がチェックされていない場合、入力いただく「層区分」で選択される材料により支配されますのでご注意下さい。即ちシルトなど設計上、設計者がどちらの性質であるかと判断された場合にはこの設定により判断され設計することになります。
一般的にe-logp曲線におけるpは圧密荷重を採用し、物理試験で圧密載荷試験を行った結果として得られた結果を入力頂ければよいと存じます。一方、mv-p曲線は、平均圧密荷重と体積圧縮係数との関係図ですので平均圧密荷重を入力していただき作成して下さい。また、Cvはmvの関数としても表される圧密係数ですので、mvと同様にお考え下さい。
先行圧密応力q0につきましては、沈下量計算時(⊿e法,mv法,Cc法)に使用します。
q0>0とした場合には、過圧密地盤としての沈下量の計算となり、q0=0とした場合には、正規圧密地盤としての沈下量の計算となります。
改良土を「非圧縮層」として設定することにより、改良土には沈下が全く発生しないとした扱いとすることができます。また、層区分はそのままに、圧密試験(e-logP)の入力値として水平線を設定(圧密圧力に比して間隙比が変化しない)とした入力に変更することでも可です。
なお、改良土に対していくらかの沈下を認める場合には、自然地盤における圧密試験(e-logP)を改良地盤の物性値として、曲線の勾配を緩くして設定することにより、改良土が沈下するとした扱いとなります。
さて、わが国の多くの公共機関が示す設計指針類(例えば、「道路土工―軟弱地盤対策工指針」,「建築基礎構造設計指針」等)では、有限幅の荷重が載荷される場合の地盤変位に対して、個々の断面位置での地盤内鉛直方向応力を、弾性論を用いて算定し、その鉛直応力によって生じる鉛直方向の圧密沈下量を一次元圧密理論によって算定する方法が示されており、一般的な構造物の設計では、この手法が今日でも多用されています。
ここで、Terzaghiの圧密理論は、もともと側方の変形が完全に拘束された一次元圧密を取り扱っており、載荷幅が大きい場合においては妥当性を有していますが(上図の中央付近における変形量)、せん断変形を生じるような有限幅の載荷に対しては、設計指針類に準拠した一次元圧密理論による計算のみでは、必ずしもこのような変形機構を十分に再現できるとは限りません。
FORUM8製品では、せん断変形を伴う地盤変位量の算定に際して、別途、地盤を弾性体とみなし弾性変位量として即時沈下・側方変位を算出する機能を設けることにより、この問題点を解消しています。これにより、FORUM8製品では設計指針類に準拠した圧密沈下計算を採用しながら、かつ、必要に応じてせん断変形の影響照査も可能であり、これらを一連の計算書として出力します。

LOADING