| New Products |
|
|
補強土壁の設計計算
補強土壁の内的安定の検討、外的安定の検討、全体安定の検討を行うプログラム |
|
|
|
「補強土壁の設計計算」は、盛土材料中に鋼帯等の補強材を挿入することにより盛土全体の安定性を高める土構造物『補強土壁』の、内的安定、外的安定、全体安定の検討を行うプログラムです(図1)。
 ■図1 メイン画面
|
本製品は、「補強土(テールアルメ)壁工法 設計・施工マニュアル 第3回改訂版」を参考にして、テールアルメ工法による設計に対応しています。テールアルメとは、盛土内に帯状の補強材(以下、ストリップ)を挿入し、盛土と補強材の間の摩擦力によって盛土の安定を確保するもので、通常のコンクリート擁壁と比較して、低コストで高い垂直盛土を構築できます。
内的安定の検討ではストリップの引抜けや破断,ボルトのせん断に対する検討を行います。外的安定の検討では、一般的なコンクリート擁壁のように転倒,滑動,支持力に対する安定性の検討を行います。
本プログラムでは、これら全ての照査について、常時ケース及び地震時ケースで検討することが可能です(図2)。
また、全体安定の検討では、テールアルメの補強効果を考慮した、地盤全体のすべり破壊の検討を行います。
 ■図2 基本条件画面
|
内的安定の検討では、壁面及び補強部材の選定が必要となります。本プログラムはコンクリートスキンに対応しており、スキンのタイプT〜IIIを選択することにより、取付けボルトの本数やボルトのせん断面の数を自動的に設定します。
また、補強材であるストリップについても、リブ付ストリップ、高強度リブ付ストリップ、平滑ストリップの3種類を用意しており、それぞれを選択すると、寸法やボルトの種類、許容値等を自動的に設定します(図3)。もちろん、これらの断面諸値は直接入力することも可能です。
 ■図3 部材材料画面
内的安定の検討に考慮する荷重としては、活荷重と雪荷重を用意しています。
このうち、活荷重に関しては、影響範囲と強度を自動的に判断して考慮の有無を決定します(図4、5)。
雪荷重については死荷重扱いとなります。
 |
 |
| ■図4 載荷重画面 |
■図5 活荷重の決定 |
また、地震時慣性力算出用の設計震度については、地震規模、地域区分、地盤種別から内部計算することが可能です。
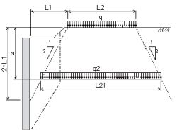
実際の検討にあたっては、まず主働領域を決定します。主働領域の形状が、所定の摩擦抵抗力を保有するためのストリップ長を決定するときの重要な要素となり、主働領域より背面側が抵抗領域となります。
ストリップの引張力による引き抜けに対しては、抵抗領域中にあるストリップがこれに有効に働くものと考えて、ストリップ長を決定します。ストリップ長が決まると、外的安定の検討に使用する仮想擁壁形状を決定できます(図6)。
尚、本プログラムではいつでも仮想擁壁形状を確認できるように、入力しながら内的安定の検討を実行する機能を用意しています(図7)。
 |
 |
| ■図6 仮想擁壁の決定 |
■図7 内的安定検討結果 |
|
外的安定の検討では、内的安定の検討で決定した仮想擁壁形状に対して、一般的なコンクリート擁壁と同様の安定照査を行います。
安定照査のうち、転倒に対する検討と滑動に対する検討では、仮想擁壁の自重と仮想擁壁背面に作用する土圧を外力として集計します。
自重は仮想擁壁の範囲が全て盛土材料で満たされているものとして算出します。コンクリートスキンや基礎コンクリート、ストリップの重量は自重に含みません。
土圧に関しては、試行くさび法により適切に評価します。本プログラムでは、通常の盛土部土圧の他に切土部土圧での計算にも対応しています。また、粘着力や自立高さによる土圧の低減も評価することも可能です(図8)。
 ■図8 土圧画面
地震時の影響に関しては以下の2通りの荷重を考慮します。
なお、一般的なコンクリート擁壁では、合力作用位置が躯体底面幅を外れた場合は計算を行うことができませんが、テールアルメでは後述する地盤反力計算時に荷重の偏心を考慮しないため、計算を行うことが可能です。
支持力に対する検討では、壁面直下支持力と盛土直下支持力の2種類の検討を行います。
何れの場合も荷重偏心を考慮しないため、地盤反力が等分布するものとして計算します(図9)。
この時、壁面直下支持力に対しては、部材重量と壁面に作用する鉛直土圧を考慮し、盛土直下支持力に対しては盛土重量を考慮します(図10)。
 |
 |
| ■図9 地盤反力のイメージ |
■図10 土圧画面 |
|
「補強領域,支持地盤,背後盛土を含めた全体の安定を円弧すべり法によって照査します。
本プログラムでは、円弧中心の格子範囲、すべり円の刻み幅等々詳細な設定を行うことができます。土質ブロックは、裏込め土と基礎地盤毎に複数の土質ブロックを設定し照査を行うことが可能です(図11)。
 ■図11 円弧すべり
また、すべり破壊に対する補強効果に関しては、補強領域内に見かけの粘着力c’が存在するものとして計算を行いますが、安全側を考慮してc’による補強効果を無視する範囲を設定することもできます。
|
| 今後も工法の追加など、ユーザの皆様からのご要望を取り入れ、改良・改善に努めてまいります。どうぞご期待ください。 |
|







>> 製品総合カタログ

>> プレミアム会員サービス
>> ファイナンシャルサポート
|